688
社区成员
发帖
与我相关
我的任务
分享| 这个作业属于哪个课程 | 2023福大-软件工程、实践W班 |
|---|---|
| 这个作业要求在哪里 | 作业要求 |
| 这个作业的目标 | Day记录 |
| 其他参考文献 | 无 |


由于有同学隔离,所以采用线上会议的形式
《照片找不到啦~》
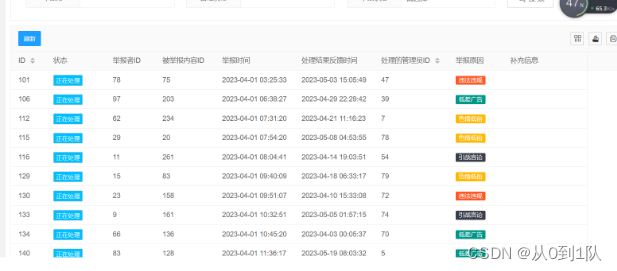
1.完成举报数据表和问题数据表以及用户数据表的美化工作
2.修复图片链接带参数导致编辑获取参数出错问题。






存在的问题/遇到的困难:

今天到明天会议的安排:
完成热度的计算和每小时更新的服务器设置
完成今天未完成的首页的组装


今天到明天会议的安排:
继续测试后台相关接口
心得体会:
磨刀不误砍柴工,学习相关知识后更有利于完成任务
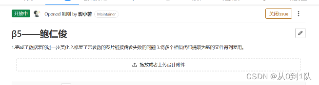
1.实现数据表优化,完成图片点击放大的功能

issue:


存在的问题/遇到的困难:
今天开始写js,jQuery不是很熟悉,写事件的时候原来的绑定总是失败,后来问组长,组长一眼就看出了问题,原因是页面的图片是动态加载的,所以要采用动态的绑定,不能用$(".myimg").on(...)来实现,而应该用$(document).on("click",".myimg",...)来实现。结果就解决了问题
今天到明天会议的安排:
和前端开发者一起完成首页的布局。




issue:



存在的问题/遇到的困难:
无
今天到明天会议的安排:
辅助前端开发完善其他页面
心得体会:
不断学习的感觉真好



issue:


存在的问题/遇到的困难:
渲染的时候会有警告

今天到明天会议的安排:
完成热榜到详情页跳转、发布功能



issue:



存在的问题/遇到的困难:
能支持多关键词搜索了但不能支持不连续关键词搜索,后来发现是对输入进来的关键词的判断语句有误
今天到明天会议的安排:
完善编辑用户信息接口
心得体会:
遇到困难时不要着急,慢慢来
1.获取我的消息接口完善,解决openId重复注册问题






存在的问题/遇到的困难:
无
今天到明天会议的安排:
辅助前端开发


今天到明天会议的安排:
继续修改接口的测试,推进集成测试
心得体会:
细心、耐心、多读多看