739
社区成员
发帖
与我相关
我的任务
分享
知识产权的核心就是专利。
专利的发展可以看作是我国的技术的发展,专利就是成熟的、或者可行的技术的改进方向等。为此,先介绍一下相关的各种机构。
想象一下,国家知识产权局就像是一个超级大管家,负责看管和管理所有与创新技术有关的“宝贝”——也就是我们的算法发明、算法设计,算法就是创新的一种,各种算法系统的存在使得我们的生活变得更加方便。这个大管家不仅确保这些“宝贝”得到保护,不被别人随便拿走或者模仿,还帮助我们利用这些“宝贝”来赚钱。它还负责和其他国家的类似大管家交流,确保我们的“宝贝”在国外也能得到保护。
官网: https://www.cnipa.gov.cn/
这些中心就像是地方上的“小管家”,它们帮助当地的发明家、设计师和品牌所有者快速地保护他们的创意和品牌。如果你在某个地方有一个很棒的算法发明或者算法设计,你可以去找这些“小管家”,他们会帮你快速地拿到官方的保护证明,让你的创意不被其他人侵犯。这些“小管家”还会帮你解决知识产权方面的问题,比如有人抄袭了你的设计,他们会帮你维权。
西安市知识产权保护中心官网:https://www.xaippc.com/
陕西省知识产权保护中心官网:http://www.snippc.cn/
代理所就像是你的私人助手,专门帮你处理和知识产权有关的事情。如果你有一个新产品或者一个很酷的设计,但是不知道该怎么保护它,就可以去找代理所。他们会帮你准备文件,提交申请,确保你的创意得到官方的认可和保护。如果你的知识产权被别人侵犯了,代理所也会帮你打官司,保护你的权益。
简而言之,国家知识产权局是全国的大管家,地方知识产权保护中心是地方上的小管家,而代理所是你的私人助手,他们都在帮助保护和利用我们的创意和发明。
代理所就是把我们的发明内容通过代理师包装成标准格式,然后上传保护中心审核。
地方保护中心是地区性的审核机构,国家知识产权局是全国性的审核机构,审核的一般流程都是:地方保护中心先通过审核,然后提交国家知识产权局审核,审核通过,然后下发专利授权证书。
通过这些机构,我们的算法研究、改进等先进技术得到保护,有助于我国的整体技术实力的提高。
类型 发明专利 实用新型 外观设计
普通申请 18-26个月 6-8个月 4-6个月
优先审查 7-12个月 2个月 2个月
快速预审 3-6个月 2个月 1个月
普通申请、优先审查和快速预审是专利申请的三种不同审查程序,它们的主要区别如下:
普通申请是指国家知识产权局依据法规,对申请人递交的专利申请按照正常程序进行审核的过程。
优先审查是指国家知识产权局依据申请人的请求或依职权对符合条件的专利申请,依据《专利优先审查管理办法》(2017)为专利申请提供优先审查。
优先审查的适用范围扩展到了实质审查阶段的发明专利申请、实用新型和外观设计专利申请,以及这些专利申请的复审和无效宣告案件。
优先审查的出现时间是2017年8月1日,这是《专利优先审查管理办法》正式施行的时间。
优先审查的目的在于促进产业结构优化升级,推进国家知识产权战略实施和知识产权强国建设,服务创新驱动发展,完善专利审查程序。
快速预审是指各个地方的知识产权保护中心为符合相应产业要求的企业等提供专利申请预先审查服务,国家知识产权局对通过保护中心预审的专利申请进行加快审查。
快速预审的适用类型包括发明、实用新型、外观专利申请、复审及无效请求、专利权评价报告。
快速预审的出现时间没有明确的记录,但作为一种加速专利审查的机制,其目的是为了加速专利申请的审批过程,特别是对于新一代信息技术、高端装备制造、生物医药、新材料、节能环保等高端产业的专利申请。
快速预审的目的是为了缩短授权周期,帮助申请人快速获得权利,为创新成果及时快速的商业转化提供保障机制。
总结来说,普通申请是标准的审查流程,而优先审查和快速预审则是为了特定目的和条件下,加快专利审查过程的特别程序。优先审查侧重于国家战略和公共利益,而快速预审则侧重于地方产业需求和快速的市场响应。
我国的专利技术的发展历程可以概括为以下几个阶段:
起步阶段(新中国成立初期):
改革开放后的快速发展(1978年以后):
不断完善与国际接轨(1985年以后):
国家知识产权战略纲要的实施(2008年以后):
知识产权强国建设纲要(2021—2035年):
专利汇网址:https://www.patenthub.cn 专利汇网站首页:

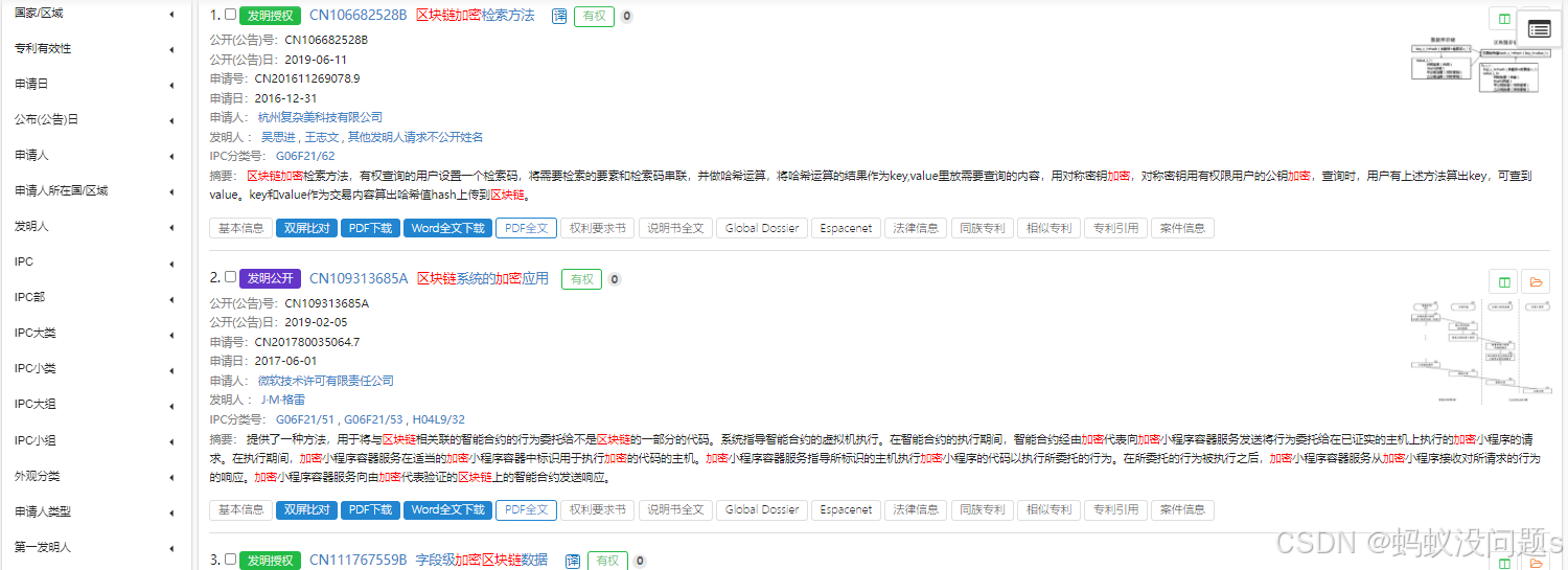
以“区块链加密”作为搜索内容,搜索结果如下:

专利汇上不仅可以查找相关专利技术的申请,还可以针对发明人、代理机构、不同高校、企业的发明技术专利进行搜索,如下图所示:

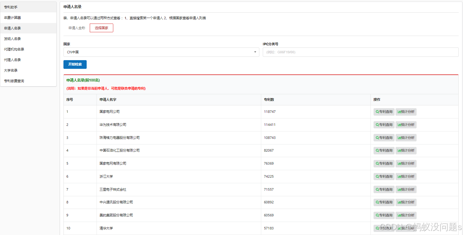
对我国的申请人名录进行检索,检索结果如下图所示:
国家电网、华为、格力的申请数均超过10万,可见大的机构、公司等往往科研实力实力也很强,各种研究,技术都位居前列。

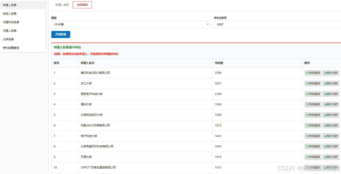
申请人结合分类号,即申请某个分类号的申请人,这里用G06T(一般的图像处理)分类号为例,检索结果如下图所示:可见申请人一般都是大型科技机构或科研院所居多。

申请人和发明人不同的是,申请人可以是个人、也可以是一个机构。
发明人只能是个人。
对我国的研究G06T技术方面的发明人进行检索,检索结果如下:

代理机构即辅助发明人专利申请的机构,我国的代理机构的检索结果如下图所示:
4、代理人名录代理人即代理机构的代理师,将发明人的技术文档撰写为五书的工作者,检索结果如下所示:

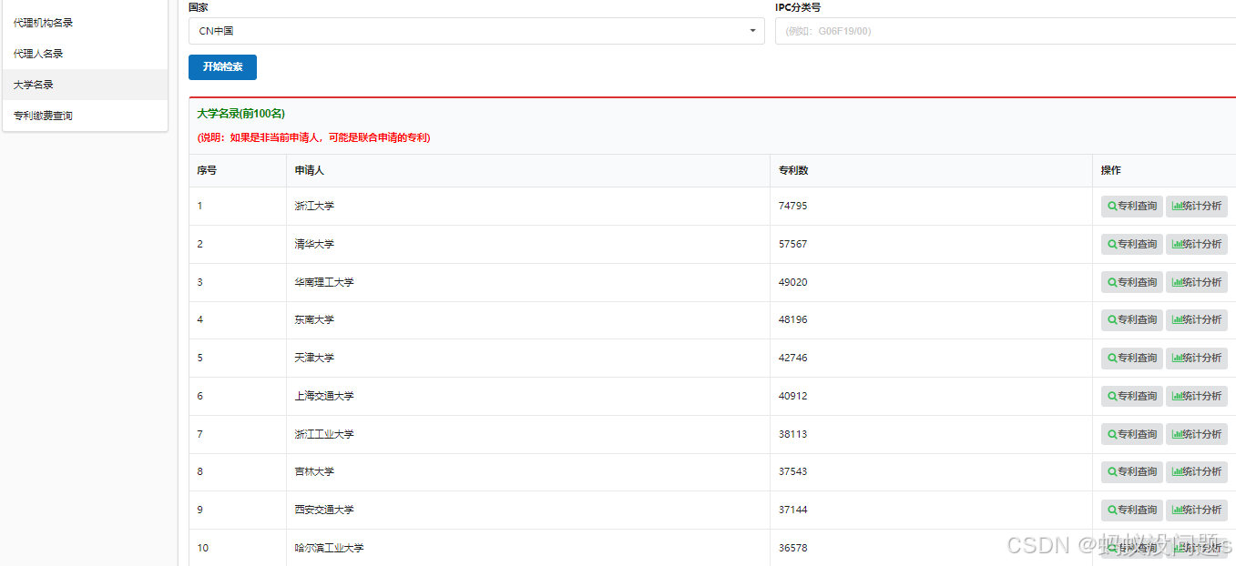
对我国的大学专利情况进行检索,检索结果如下图所示:
奇怪的是,没有出现北京大学的名字,个人认为可能是专利汇上的数据不全或不完整,可以作为参考,但不能作为学校排名的依据。

对上海交通大学的统计分析情况进行查看,结果如下图所示:

结果中应该是与上海交通大学相关的专利情况,相关的共同发明人,相关的发明机构等。
专利快速检索-快速检索全球专利,免费商用专利数据库-IPRDB

专利号即根据专利内容划分的专利所属的类别号,即应用在不同的场景,会拥有不同分类号。
八月瓜科技-创新大脑全球专利检索平台-专利导航-专利查询-技术评估评价创新大脑全球专利检索分析平台为您提供专利检索查询分析、专利分析评估交易、知识产权交易、专利检索查询数据库。一站式的提供全球178个国家(地区)的全球专利检索查询分析服务,同时有专利资深顾问免费为您提供知识产权分析评估相关问题https://www.bayuegua.com/#/classificate

该流程参考网站:https://www.zj.gov.cn/art/2024/9/20/art_1545477_60230609.html

发明人文档 - 代理师五书 - 地方知识产权保护中心初步审查 - 初审通过 - 国家知识产权局实审 - 实审通过 - 授权下证
即发明人首先提交一个发明内容的文档,通过代理机构的代理师包装为国家知识产权局需要的五书格式,然后提交地方保护中心初审,初审通过后,提交国家知识产权局进入实审阶段,这时就可以在专利网站上查到提交的专利了,实审通过后,国知局就会下发授权证书。
我们的研究、改进等如果效果显著,也可以申请,让国家保护我们的研究、改进等。
目录